18 Aug 2022
网络协议通常针对不同层次分别开发,每一层分别负责不同的通信功能。TCP/IP是一个协议族,是不同层次的协议的组合。TCP/IP通常被认为是一个四层协议系统。
通常应用层是运行在linux的用户空间,而其他三层是运行在linux的内核空间。
网桥和路由器
- 网桥是在链路层上对网络进行互联,网桥使得多个局域网组合在一起,对于上层来说就好像是一个局域网。
- 路由器是在网络层上对网络进行互联,TCP/IP倾向于使用路由器而不是网桥来连接网络。
如下图,net-id代表网络号;host-id代表主机号
CLASS A
IP RANGE: 1.0.0.0 - 126.255.255.255
MASK: 255.0.0.0
7 bits 24 bits
┌─┬───────┬────────────────────────┐
│0│net-id │ host-id │
└─┴───────┴────────────────────────┘
CLASS B
IP RANGE: 128.0.0.0 - 191.255.255.255
MASK: 255.255.0.0
14 bits 16 bits
┌──┬──────────────┬────────────────┐
│10│ net-id │ host-id │
└──┴──────────────┴────────────────┘
CLASS C
IP RANGE: 192.0.1.0 - 223.255.255.255
MASK: 255.255.255.0
21 bits 8 bits
┌───┬─────────────────────┬────────┐
│110│ net-id │host-id │
└───┴─────────────────────┴────────┘
CLASS D
IP RANGE: 224.0.0.0 - 239.255.255.255
28 bits
┌────┬─────────────────────────────┐
│1110│ multi-broadcast │
└────┴─────────────────────────────┘
CLASS E: 240.0.0.0 - 255.255.255.254
27 bits
┌─────┬────────────────────────────┐
│11110│ reserved │
└─────┴────────────────────────────┘
TCP/IP中,网络层和运输层的区别最为关键:网络层(IP)提供点对点的服务,而运输层(TCP和UDP)提供端对端的服务。
互联网是网络的网络,通过IP把网络连接起来,端口号用来标识互相通信的应用程序。
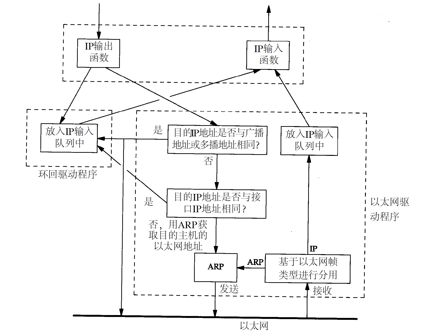
对于回环网络的实现,并不会省略传输层和网络层的传输过程,大多数的产品还是照样完成传输层和网络层的所有过程,只是当IP数据报离开网络层时把它返回给自己。

上图的关键点:
看上去回环网络的实现中又走了一遍传输层和网络层效率不高。但是这样是简化了设计,相当于把回环网络当成了网络层下面的一个链路层。网络层把一份数据报传送给环回接口,就像传给其他链路层一样,只不过环回接口把它返回到IP的输入队列中。
虽然回环网络会走一遍传输层和网络层的过程,但是回环网络的包不会出现在网络中。
如果IP层有一个数据报要传,而且数据的长度比链路层的MTU还大,那么IP层就需要进行分片,把数据报分成若干片,这样每一片都小于MTU。
查看linux系统中网卡设备的MTU
netstat -in Kernel Interface table Iface MTU RX-OK RX-ERR RX-DRP RX-OVR TX-OK TX-ERR TX-DRP TX-OVR Flg eth0 1500 2975 0 0 0 1329 0 0 0 BMRU lo 65536 0 0 0 0 0 0 0 0 LRU
在同一个网络中的两台主机进行通信时,该网络的MTU是非常重要的。但是如果是不同网络中的两台主机进行通信时,那么重要的就不在是两台主机各自所在网络的MTU,而是两台主机中间路径上经过的最小MTU。这被称为路径MTU。
但是路径MTU不一定是一个常数,因为这取决于网络路由的路径。而路由的选择不一定是对称的,A到B和B到A不一定是一致的,因此路径MTU在这两个方向上也不一定是一致的。
这里就牵扯到一个重要的问题,路径MTU发现机制,这个机制有点复杂,后面会讨论。
IP是TCP/IP协议族中最核心的协议。所有的TCP、UDP、ICMP和IGMP都以IP数据报格式传输。

普通的IP首部有20个字节长,除非含有选项字段。
最高位在左边,记为0bit,最低位在右边,记为31bit。4个字节,32个bit的传输顺序为,首先为0-7bit,其次为8-15bit,然后是16-23bit,最后是24-31bit。这种传输方式被称为big endian字节序。由于TCP/IP首部中所有的二进制整数在网络中传输时都要求以这种次序,因此它又称之为网络字节序。以其他形式储存二进制整数的机器,比如little endian格式,则必须在传输数据之前把首部转换成网络字节序。
目前的协议版本号是4,因此IP也被称为IPv4。
首部长度指的是首部占32bit字的数目,包括任何选项。由于它是一个4字节(图中的宽度)字段,因此首部最长为60个字节。普通IP数据报(没有任何选项)字段的值是5。
服务类型(TOS)字段包括
4bit的TOS子字段,如果全部设定为0,那就意味着是一般服务。
RFC 1340⁄1349 详细的描述了如何设定TOS和描述了TOS特性。
下图列出了对不同应用建议的TOS值。最后一列中给出来的是十六进制值。

总长度字段是指整个IP数据报的长度,以字节为单位。利用首部长度字段和总长度字段,就可以知道IP数据报中的数据内容的起始位置和长度。最长是65535字节。
总长度字段是IP首部中必要的内容。因为有一些数据链路(如以太网)需要填充一些数据以达到小长度。以太网的最小帧是46字节。
标识字段唯一的标识主机发送的每一份数据报。通常每发送一份报文,它的数值就会加1。
TTL(time to live)生存时间字段设置了数据报可以经过的最多路由器数。它指定了数据报的生存时间。其初始值由源主机设定(32或64),一旦经过一个处理它的路由器,它的值就减1。当该字段为0时,该报文会被抛弃,并发送ICMP报文通知源主机。
根据协议字段可以判断是哪个协议向IP传送数据。
首部校验和字段是根据IP首部计算的校验和码。
每一份IP数据报文都包含源地址和目的地址。
最后一个字段是任选项,是数据报中可变长的可选信息。这些选项很少被使用,并非所有的主机和路由器支持这些字段。选项字段一直都是以32bit为边界,不足的地方以0补齐。这样就保证了所有的IP首部都是32bit的整数倍。
IP的路由非常简单,如果两个主机直接点对点或者在同一个本地网络中(以太网或令牌网),那么IP数据报就直接发送到目的主机上。否则,主机把数据发给默认的路由器上,由路由器来转发该数据报。
在一般的体制中,IP可以从TCP、UDP、ICMP和IGMP接收数据报(本地生成)并进行发送,或者从一个网络接口接收数据报(待转发的数据报)并进行发送。IP层在内存中存有一个路由表。当收到一个数据报并进行发送时,它都要对该表搜索一次。当数据报来自某个网络接口时,IP首先检查目的IP地址是否为本机的IP地址之一或者IP广播地址。如果确实是这样的,数据报就会被送到由IP首部协议字段所指定的协议模块进行处理。如果数据报的目的地址不是这些地址,那么如果IP层被设置为路由器的功能,那么就对数据报进行转发(转发过程如下);如果IP层没有被设置为路由器的功能,数据报将会被丢弃。
路由表中的每一项都包含以下信息:
IP路由选择是逐跳地进行的。IP并不知道到达任何目的的完整路径,所有IP路由选择只为数据报传输指定下一跳路由器的IP地址。它假定下一跳路由器比发送数据报的主机更接近目的地,而且下一跳路由器与该主机是直接相连的。
IP路由主要完成以下功能:
如果上述的这些步骤都没有成功,那么该数据报就不能发送。如果不能传送的数据报来自于本机,那么一般会向生成数据报的应用程序返回一个“主机不可达”或“网络不可达”的错误。
完整主机地址匹配在网络号匹配之前执行。只有当它们都失败后,才会选择默认路由。
几个额外的知识点:
- 数据报中的目的IP地址始终不会发生任何变化,所有的路由选择决策都是基于这个目的IP地址。
- 每个链路层可能具有不同的数据帧首部,而且链路层的目的地址(如果有的话)始终指向的是下一跳的链路层地址。以太网的链路层目的地址一般通过ARP获得,而SLIP这种点对点的链路就不需要链路层首部(因为它是点对点的)。
现在所有的主机都要求支持子网编址(RFC950),不是把IP地址看成单纯的一个网络号和主机号组成,而是把主机号再分成一个子网号和主机号。
这样做的原因是因为A类和B类地址为主机号分配了太多的空间,可分别容纳的主机数为2^24-2和2^16-2。事实上,在一个网络中人们并不安排这么多的主机。由于全0和全1的主机号都是无效的,所以我们总是把总数减去2.
在InterNIC获得某类IP网络号之后,就可以进行子网划分。例如获得一个B类网络号140.252,在其下面划分成多个子网,可以将B类网络号剩下的16位地址中,前8位作为子网号,后8位作为主机号。用一个B类网络号然后分子网的方式,和直接采取同样数量的C类地址的区别在于,同一个B类地址,外部网络只需要知道一个路由表目即可,而使用C类却需要多个路由表目。因此,子网划分缩减了路由表的规模。